白嫖亚马逊云 这次最高获得200美元抵扣金 EC2服务器免费玩

众所周知,我刚接触云服务器的时候最先接触的就是这些大厂的免费活动,我们玩过免费的甲骨文云,亚马逊云,谷歌云,微软云。后来才慢慢接触付费云服务器的,如今亚马逊云带来新的免费活动,所以我将再次出手,与大家一起免费体验亚马逊云的更多活动。
先从注册账号开始
只有新账号才能享受这次的免费200美金活动,而且门槛降低,只要按照我的思路走,封号几乎与你无缘,正规合规体验亚马逊云免费活动。

注册先送100美元折扣金,然后通过5个小任务达成发放剩下的100美元,最高可活动200美元抵扣金。能免费使用6个月,其实100美元对我们也是足够的了。

看完权益回到页面顶部,点击注册账户按钮,开始海外账号注册,中国区注册后续我们有空再分享。


建议全部都用真实国内信息,才能提升注册账户成功率,亚马逊云这块管控很严格。输入真实未注册过亚马逊云的邮箱,输入亚马逊云用户名,进入图形验证。

直接去邮箱找新邮件,找亚马逊云发来的邮件,获取验证码,如果出现右图的邮件内容,证明你用的邮箱已经注册过亚马逊云了,不允许再次注册了。


将获得的邮箱验证码填写到输入框。

设置账号的密码,这个简单要包含大小写数字,按要求设定强密码即可。

这块选择免费套餐6个月这个选项。

输入详细个人信息,姓名,手机,国家,街道,城市,省份,邮编等信息。

输入付款信息,支持中国银联信用卡,这一点比之前好太多了,之前只能用外币信用卡,成功概率非常低,也会伴随的账户风控。银联信用卡卡号,持卡人姓名,持卡人证件号以及手机验证。



银联信用卡绑定成功了,确认页面继续下一步。

这块手机验证二步验证。


最后亚马逊云的正确注册流程就完成了,这是最稳妥安全可靠的注册方法。成功注册,进入主菜单,右上角展开看到免费额度,先收获100美元的182天。我看海外大厂都互相学习,这个账号只要你不升级将不会产生任何扣费,最多不能使用,再也不像当年一不小心乱扣费了。




开始开启EC2云服务器
这就是我的强项了,搜索EC2,选择EC2。


右上角选择区域,还可以在菜单下方开启更多隐藏区域,这不是熟人一般都不告诉的。




注意新增区域迟迟没出来建议账号登出再登录刷新下,就有了。
选择中国台湾地区,系统,配置参数,设置SSH密钥对,设置安全组,SSH连接EC2云服务器。







测试下台北地区怎么样
基础信息
依旧多维度测试下这台云服务器,先从基础信息看。


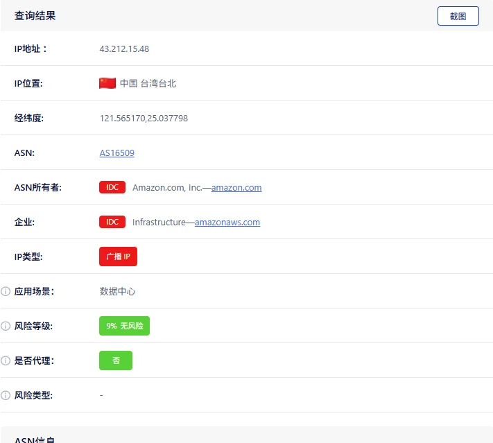
IP质量看看



来看线路回程延迟情况
移动走香港回国,联通走日本回国,电信走美国回国。







上传下载测试情况


性能测试


版权声明:
作者:KEJILION
链接:https://blog.kejilion.pro/aws-cloud-ec2/
来源:科技lion官方博客【国内版】
文章版权归作者所有,未经允许请勿转载。



共有 0 条评论